101-XXX-221S-PXX-Y12浮動插針插座ANDON
發布時間:2024-07-10 09:42:03 瀏覽:1078


特點:
- 適用于DIP和PGA封裝,解決PCB不平整問題。
- 提供開放式和封閉式框架DIP插座及PGA版本。
- 多種端子和觸點尺寸。
材料:
- 絕緣體:高溫尼龍16ul 94v-0。
- 端子:黃銅,符合ASTM-B16。
- 工作溫度:-65°C至+150°C。
接觸力:
- 插入力:9盎司。
- 提取力:2盎司。
觸點類型:
- S型:標準DIP,插入力9.0盎司,撤離力2.0盎司。
- M型:標準PGA,插入力1.6盎司,抽吸力0.5盎司。
- L型:間質PGA,插入力1.0盎司,抽離力0.3盎司。
- H型:高強度,插入力18.3盎司,撤回力4.2盎司。
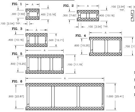
| WAFER CHART | ||||
| PIN | DIM"A | |||
| FIG.1 | 6 | 300 [7.62] | 306 | |
| 8 | 400 10.16 | 308 | ||
| 10 | 500 12.70] | 310 | ||
| FIG.2 | 14 | 700 17.78 | 314 | |
| 16 | 800 20.32 | 316 | ||
| 18 | 900 22.86 | 318 | ||
| 20 | 1.000 [25.40] | 520 | ||
| 22 | 1.100 [27.94 | 322 | ||
| 24 | 1.200 [30.48 | 324 | ||
| 28 | .400 [35.56 | 328 | ||
| FIG.3 | 16 | 800 20.32 | 416 | |
| 22 | 1.100 [27.94] | 422 | ||
| 24 | 1.200 [30.48 | 424 | ||
| FIG,4 | 24 | 1.200 30.48 | 624 | |
| FIG.5 | 28 | 1.400 [35.567 | 528 | |
| 30 | 1.500 [38.10 | 630 | ||
| 32 | 1.600 40.64 | 532 | ||
| 36 | 1.800 [45.72] | 636 | ||
| 40 | 2.000 50.80 | 540 | ||
| 48 | 2.400 60.96 | 648 | ||
| FIG.6 | 50 | 2.500 63.50 | 950 | |
| 52 | 2.600 [66.04 | 952 | ||
| 64 | 3.200 | 81.28 | 964 | |

推薦資訊
Glenair?的Gatelink Pro?連接器致力于滿足航站樓到飛機航班數據信息上行鏈路的需求而設計。飛機上IP68密封性插座連接器致力于低剖面環境功能而設計(可用的ProSeal?保護蓋增強了附加的環境保護)。
0460-202-1631 汽車端子是 TE Connectivity 生產的 DEUTSCH 系列產品,具有適用線規、外徑、工作電流、電線絕緣外徑等規格特性,適用環境溫度范圍廣,端接方式為壓接,主體材料為銅,電鍍材料為金,包裝方式為 Box,單位數量為 2500,電流負載依據導線而定。
在線留言